詳細介紹
產品概述 單桿式(SIMPLE LEVER TYPE)微量排氣閥,為一類似橢圓形閥體,內部所有零件包括浮球,杠桿、閥座等均為304不銹鋼,內部使用標準排氣孔徑1/6",適合用于PN16工作壓力環境。介質溫度:0-80℃。 AVAX型自動排氣閥主要應用于暖通空調系統,往往安裝在制高點或彎頭等處,以排除管道中多余氣體、提高管路使用效率及降低能耗。介質溫度:0-80℃。 主要技術參數公稱壓力:1.0~1.6MPa 公稱通徑:10~25mm 適用介質:水、油等非腐蝕性液體 適用溫度:0~100℃ 試驗標準:GB/T 13927 API598 主要零部件材料
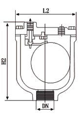
主要外形連接尺寸 單位:mm
產品尺寸![]() | |||||||||||||||||||||||||||||||||||||||||||||
溫馨提示:“ARVX自動排氣閥”所有文字、數據、圖片均只適用于參考。
如需與實物相吻合的性能參數、結構尺寸參數等詳情請來電來函索取。
電話:021-68103333 傳真:021-51686322
如需與實物相吻合的性能參數、結構尺寸參數等詳情請來電來函索取。
電話:021-68103333 傳真:021-51686322

軟密封蝶閥視頻介紹




掃一掃關注我們